Acls精华 第 五 版 解答

Acls精華 第五版 Acls Jing Hua Di Wu Ban 專業 教科書 政府出版品類 暢銷書排行榜 新書介紹 推薦書單 痞客邦

Acls精華第四版 好評 Pchome 個人新聞台
Wd Vghtpe Gov Tw Cstc Files Vgh 10acls E8 Ac 9b E5 B8 Ab E7 E7 B6 B2 E8 Af Pdf

109年2月15 16 22 23日中臺科技大學區假日班emt課程 08 00 19 00 四天課程 假日班 Beclass 線上報名系統online Registration Form For 移動裝置 活動日期 02 15

Acls聯委會 Acls指導員台灣急救加護醫學會

Ccnp V5 0三套全程班视频教程网络工程师进阶学习实战课程spoto思科认证ccnp精华教程 我爱分享网

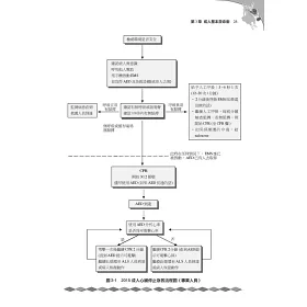
19新型冠狀病毒 19 Ncov 感染臨床處置暫行指引0326第五版 新冠肺炎 Covid 19 台灣急救加護醫學會 重症專科
東元認證課程 105年度高級心臟救命術再認證 Acls Review 東元綜合醫院ton Yen General Hospital Facebook

第五人格 这些珍藏画面很多人都没见过 图六玩家们更是报以怀疑 楠木轩

金名acls 精華第四版 好書新感動 圖書 考試用書在旋轉拍賣

博客來 Acls精華 第五版

Acls考題與解答 藍書網 Acls考題與解答

Zopny095 Iubvm

Acls 高級心臟救命術 第五版 金名出版胡勝川 Yahoo奇摩拍賣

第五人格 这些珍藏画面很多人都没见过 图六玩家们更是报以怀疑 楠木轩

Ise Asa Coa 集成操作指南 Pdf Free Download
東元認證課程 105年度高級心臟救命術再認證 Acls Review 東元綜合醫院ton Yen General Hospital Facebook

Acls精華 第五版 Acls Jing Hua Di Wu Ban 專業 教科書 政府出版品類 暢銷書排行榜 新書介紹 推薦書單 痞客邦
Acls 實用高級心臟救命術 臨床指引操作 第二版修訂版 合記圖書出版社 二手內含筆記 蝦皮購物
急救科普人解读 肾上腺素到底啥时候用 19年aha更新有答案 看点快报

美国心脏协会 Aha 高级心脏生命支持 Acls 解读吉林大学中日联谊医院急救医学科李岩 Pdf Free Download
Acls報名 輔英科技大學板 Dcard

Acls精華 第五版 Acls Jing Hua Di Wu Ban 專業 教科書 政府出版品類 暢銷書排行榜 新書介紹 推薦書單 痞客邦

Acls 課前練習試題 健康跟著走

命名acl受表号数目的限制吗 命名acl Csdn

权限控制终于来了 Redis 6 0新特性 Acls 知乎

Acls精華 第五版 Acls Jing Hua Di Wu Ban 專業 教科書 政府出版品類 暢銷書排行榜 新書介紹 推薦書單 痞客邦

讲义解答新品 讲义解答价格 讲义解答包邮 品牌 淘宝海外

心脏病学测验问题答案免费安卓下载 安卓版apk 免费下载

金石堂 生物統計學 第二版
東元認證課程 105年度高級心臟救命術再認證 Acls Review 東元綜合醫院ton Yen General Hospital Facebook

第五人格 这些珍藏画面很多人都没见过 图六玩家们更是报以怀疑 楠木轩

Acls精華第四版 好評 Pchome 個人新聞台

The Era Of Good Feelings 摘要书评试读 京东图书

It日记 专业it技术博文

讲义解答新品 讲义解答价格 讲义解答包邮 品牌 淘宝海外
Acls 精華第四版 蝦皮購物

Acls 参考卡 办公用品 亚马逊中国
使用acl 设置用户访问指定文件 目录的权限 Linux 中国 技术无边 Csdn博客
4 2 2 13 Lab Configuring And Verifying Extended Acls
4 2 2 13 Lab Configuring And Verifying Extended Acls

白色巨塔的光和影 Acls 準備 快速通關法則

Acls考古題答案 藍書網 Acls考古題答案

Acls精華第五版 我有課本要賣 圖書 考試用書在旋轉拍賣
急診醫學醫療手冊 第四版 Taaze 讀冊生活

圖書 金名圖書acls精華 生活空間站
聯委會acls題庫答案 Uppolo 新鮮生活

土地公快郎中 11

考試專區 Acls題庫 台灣急救加護醫學會

Acls 課前練習試題 健康跟著走

Zopny095 Iubvm

Acls 高級心臟救命術 第五版 金名出版胡勝川 Yahoo奇摩拍賣
Acls精華第四版 7 8成新 金名圖書出版 胡勝川著 大學護理 護理系 蝦皮購物

Acls 高級心臟救命術 第五版 金名出版胡勝川 Yahoo奇摩拍賣
Acls考古題答案 藍書網 Acls考古題答案
全新 Aha出版acls英文版教科書 蝦皮購物

15整理的acls考古題練習題 Blog 隨意窩xuite日誌

Acls精華 第五版 Acls Jing Hua Di Wu Ban 專業 教科書 政府出版品類 暢銷書排行榜 新書介紹 推薦書單 痞客邦

Acls精華 第五版 Acls Jing Hua Di Wu Ban 專業 教科書 政府出版品類 暢銷書排行榜 新書介紹 推薦書單 痞客邦

Acls精華 第五版 Acls Jing Hua Di Wu Ban 專業 教科書 政府出版品類 暢銷書排行榜 新書介紹 推薦書單 痞客邦

古集二手書h Acls精華 第3版 胡勝川金名圖書 Yahoo奇摩拍賣

权限控制终于来了 Redis 6 0新特性 Acls 知乎
急救科普人解读 肾上腺素到底啥时候用 19年aha更新有答案 腾讯新闻

美国心脏协会心血管急救培训中心落户珠海市人民院 手机新浪网

Acls 参考卡 办公用品 亚马逊中国
Secretariat Ntin Edu Tw Uploadfile 108 E5 Ad B8 E5 B9 B4 E5 Ba A6 E7 Ac Ac E5 Ad B81 E6 9c 9f E7 Ac Ac2 300 E6 Ac A1 E8 A1 8c E6 94 Bf E6 9c E8 Ad B0 E7 B4 80 E9 8c 84 Pdf

最新版acls 圖書 考試用書在旋轉拍賣

Acls Pretest答案 線上談論acls Pretest答案接近12 Acls考題與12 Acls考題73筆1 2頁 App試玩

麻醉科5分钟速查 摘要书评试读 京东图书

第五人格 这些珍藏画面很多人都没见过 图六玩家们更是报以怀疑 楠木轩

金石堂 公共衛生學上冊 修訂五版

Acls精華 第五版 Acls Jing Hua Di Wu Ban 專業 教科書 政府出版品類 暢銷書排行榜 新書介紹 推薦書單 痞客邦

Acls 高級心臟救命術 第五版 金名出版胡勝川 Yahoo奇摩拍賣
Acls 實用高級心臟救命術 臨床指引操作 第二版修訂版 合記圖書出版社 二手內含筆記 蝦皮購物

9九書坊 Acls Guide 實用高級心臟救命術臨床操作指引 尹彙文 等 合記04年修訂版 露天拍賣

19新型冠狀病毒 19 Ncov 感染臨床處置暫行指引0326第五版 新冠肺炎 Covid 19 台灣急救加護醫學會 重症專科
Go蝦米acls精華 第五版 胡勝川 金名中西醫 蝦皮購物
Acls用書 最新版 蝦皮購物
拔尿管时气囊内的水抽不出怎么办 解答导尿的5大问题 护理界 微信公众号文章阅读 Wemp

高等代数 第4版 高等学校教材 北京大学数学系前代数小组编 简介 价格 教材教辅考试书籍 孔网

讲义解答新品 讲义解答价格 讲义解答包邮 品牌 淘宝海外

Acls精華 第五版 Acls Jing Hua Di Wu Ban 專業 教科書 政府出版品類 暢銷書排行榜 新書介紹 推薦書單 痞客邦
Acls Pretest答案 線上談論acls Pretest答案接近12 Acls考題與12 Acls考題73筆1 2頁 App試玩

Zopny095 Iubvm

Zopny095 Iubvm

Acls精華第四版 好評 Pchome 個人新聞台

Acls聯委會 Acls證書申請須知台灣急救加護醫學會
Acls Access Control Lists

Acls 課前練習試題 健康跟著走
Acls Pretest答案 線上談論acls Pretest答案接近12 Acls考題與12 Acls考題73筆1 2頁 App試玩

考試專區 Acls題庫 台灣急救加護醫學會

考試專區 Acls題庫 台灣急救加護醫學會

Acls精華 三民網路書店

Instructor Course 準備方向 重點及常見缺失 Ppt Download

Acls Course Refresh Nejs

Zopny095 Iubvm

考試專區 Acls題庫 台灣急救加護醫學會

Huawen Magazine Issue116 By Huawen Issuu
糖尿病不煩人關鍵1問完全解答 Taaze 讀冊生活

Acls 参考卡 办公用品 亚马逊中国